Przeglądarka z której korzystasz - Internet Explorer - nie jest wspierana przez nasz serwis. Żeby móc w pełni korzystać z serwisu zainstaluj inną przeglądarkę.
Konto Twojej firmy jest obecnie zablokowane. Żeby móc składać zamówienia skontaktuj się ze swoim opiekunem.

Electronic overload relay 20..80 A | 3RB3036-1WD0 Siemens

Rzeczywisty produkt może się różnić od pokazanego na zdjęciu
Producent
Siemens
Kod
1903232
EAN
4011209936324
Kod Producenta
3RB3036-1WD0
Electronic overload relay 20..80 A

Informacja o Produkcie

Do pobrania

Informacja o Produkcie

Alternatywny kod produktu: 3RB30361WD0

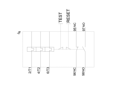
Elektroniczny przekaźnik przekaźnik przeciążeniowy SIRIUS 3RB3 do ochrony odbiorników w zależności od prądu i temperatury przy normalnym i ciężkim rozruchu przed niedopuszczalnie wysokim rozgrzewaniem w następstwie przeciążenia, asymetrią faz lub zanikiem fazy. Dzięki dużym zakresom ustawień prądu i różnym charakterystykom wyzwalania tylko kilka typów jest w stanie obsłużyć całą serię silników. Dzięki niskiej stracie mocy są one szczególnie energooszczędne i przyczyniają się do mniejszego nagrzewania szafy sterowniczej. Dopuszczenia na całym świecie (np. IEC i UL/CSA) i możliwość użycia w zastosowaniach zagrażających wybuchem (ATEX) to oczywistość. Dostępne z różnymi zakresami nastawczymi wyłącznika przeciążeniowego i z różnymi klasami wyzwalania. Są one dostępne z przyłączem śrubowym lub sprężynowym do szybkiego, bezobsługowego i odpornego na wibracje podłączania, jak również w wersji do montażu swobodnego. Akcesoria pasują zawsze do wszystkich rozmiarów od S00 do S3. Prosty, efektywny, zawsze aktualny – modułowy system SIRIUS.
  • Producent Siemens
Przekaźnik przeciążeniowy elektroniczny
  • Zakres nastawy prądu 20 - 80 A
  • Sposób montażu Montaż bezpośredni
  • Rodzaj podłączenia styków głównych Połączenie śrubowe
  • Liczba styków pomocniczych rozwiernych 1
  • Liczba styków pomocniczych zwiernych 1
  • Klasa wyzwalania KLASA 10
  • Automatyczne kasowanie Tak
  • Wejście sygnału kasowania Nie

Podmiot odpowiedzialny

Pokaż/Ukryj

Adres:

Dane kontaktowe:

Do pobrania

Karty katalogowe

Wszystkie obrazy

Produkty, które mogą Cię zainteresować: